티스토리 뷰
목차
안녕하세요!! 일상생활에서 감각을 채우는 필마센스입니다. 😊😊
올해 애플워치가 출시한 지 10주년을 맞이했다고 해요!! 와!! 벌써 10주년이라니..!! 지난 2014년 첫 애플워치 1세대를 선보였는데요. 매년 새로운 모델을 출시하며 앱등이들의 마음을 들썩들썩했었는데요!!??
올해는 애플워치 10주년인 만큼 올해는 변화가 클 것으로 예상하는데요!! 지난 아이폰 출시한 지 10주년일 때 아이폰에 홈버튼 제거, 페이스 ID도입하는 등 혁신적인 기술을 적용시켰는데요!! 이번 10주년 애플워치는 '애플워치 X(애플워치 10세대)로 예상된다고 하네요!! 그렇다면 포스팅 시작하겠습니다!! 보시죠~!!!
애플워치 X 출시 임박!!!

지난 5월 10일 독일 디자인 에이전시 Wordsmattr는 애플워치 X 콘셉트 디자인을 공개했어요!! 이제 슬슬 애플의 신제품들이 출시하고 제품 콘셉트샷이 공개되고 있어요!! 너무나 설레잖아요!?
디자인은 애플워치 울트라랑 흡사하고 일반 모델이랑 달리 디스플레이가 평평하다고 합니다!!

디자인을 살펴보면 아이폰 15프로의 티타늄 소재를 가져와서 디자인한 것으로 보여요!! 애플워치 울트라나 기존 애플워치 시리지의 디자인보다는 확실히 깔끔하면서 아이폰 시리즈와 일체감을 주는듯한 디자인이 적용돼서 통일성이 있어 보여서 저는 매력적이게 느껴지는데요!?
!! 여기서!! 상식 애플에서 사용하는 티타늄은 경도는 알루미늄보다 단단하고 강철보다는 무른 편인데 가공을 거치면서 단단하게 바뀐다고 하네요!! 열이나 전기 전도율이 낮고 잘 부식되지도 않는다고 해요!! 기스에만 유의하면 될 거 같아요!!
이러한 이유 때문에 잠수함, 탱크, 항공기, 우주선 등 군수 산업에 많이 사용되고 있어요!! 최근에는 일상생활에서도 많이 사용되고 있어요 임플란트, 교정기, 의족, 만년필, 자전거 등 일상에도 폭넓게 쓰이고 있어요!!
다시 애플워치 얘기로 돌아가보겠습니다👍👍

이번 공개된 애플워치 X 콘셉트 디자인에 가장 눈에 띄는 부분은 '카메라'라고 할 수 있어요!! 사진 촬영 목적보다는 페이스타임을 위한 목적이 강한 게 사실인 거 같아요!! 사진 촬영은 솔직히 불편할 듯한데요...?
Wordsmattr 디자이너에 따르면 8MP 카메라가 장착된다고 설명했어요!! 지금껏 출시된 애플워치는 저부 카메라가 없었는데 이번 애플워치 X에서는 처음으로 카메라가 적용된다고 하네요!! 그럼 얼마나 비싸지는 걸까요..?(현실..)
저는 다른 한쪽으로는 배터리였어요!! 저는 지금 애플워치 SE를 사용하고 있는데 회사 자리에서 수시로 충전하고 있는데 카메라까지 들어가면 배터리가 얼마나 빨리 소모될지.. 걱정이네요??

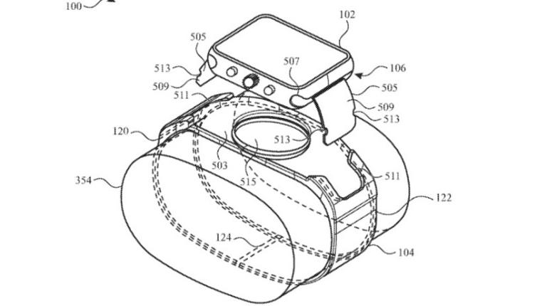
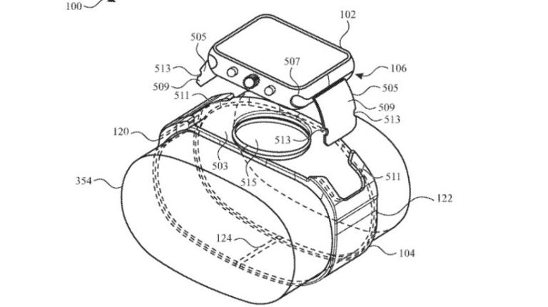
애플은 지난 2022년 애플워치에 내장 카메라 기술을 특허청에 출원한 바 있었는데요!? 이미지를 보시면 애플워치 후면에 내장 카메라가 장창 된 형태예요!! 그리고 촬영은 본체를 밴드에서 분리해야 가능한 걸로 보이는데요? 물론 위 이미지가 특허를 출원했다고 모두 반영되는 건 아니지만 여러 방면으로 기술을 개발하고 있는 듯해 보여요!
이번 애플워치 X에서 무조건 반영된다!!라는건 아니지만 그래도 많은 자료, 루머에서는 적용된다고는 하네요

또한 이번 새로운 기능에서는 헬스케어 기능이 추가되는 것으로 예상했어요! 지난 보도에 따르면 수면 무호흡증 감지 기능이 추가된다고 해요!! 수면 중 호흡 주기를 축정해 이상 상태가 감지될 경우 알림을 보내주는 기능으로 추정돼요!!
그리고 혈압 측정을 위한 센서를 개발하고 있다는 소문도 지속적으로 흘러나오고 있어요!! 현재는 개발 단계로 정확한 혈압측정은 힘들지만 고혈압 여부판단은 가능하다고 하네요??


애플워치를 사용하는 것은 편의와 스타일링으로 많이 사용하고 있지만 헬스케어가 정말 가장 중요하다고 생각해요!! 가끔 뉴스나 유튜브를 보다 보면 쓰러진 사람이 애플워치의 알람기능 호출기능으로 병원 또는 119로 자동적으로 신고가 돼서 소중한 목숨을 구하는 경우도 있다고 하는데요 앞으로 정말 다양한 헬스케어 기능이 개발되었으면 하네요!!
이상으로 애플워치 출시 10주년 기념 애플워치 X에 대해서 알아봤는데요!! 이번 애플워치 X는 올 하반기 아이폰 16과 함께 공개될 것으로 예상돼요!! 일각에서는 출시가 내년으로 미뤄졌다는 얘기도 있지만 기다려 봐야겠죠!!?
앱등이로서 차분하게 한번 기려봅니다!!
앞으로도 다양한 정보를 제공드릴 예정이에요~!!! 많은 기대 부탁드려요
2024.05.17 - [IT 정보] - 애플 비전프로 내달 한국 출시 예정 "1차 출시 확정"
애플 비전프로 내달 한국 출시 예정 "1차 출시 확정"
안녕하세요!! 일상생활에서 감각을 채우는 필마센스입니다. 😊😊 애플의 혼합현실(MR) 헤드셋 '비전프로'가 한국에서도 출시될 전망이에요!! 블룸버그통신에 따르면 비전 프로를 미국 외 다른
fillmyspace.tistory.com
2024.05.14 - [IT 정보] - 애플 신형 아이패드 프로,에어 출시[애플 신제품 총정리]
애플 신형 아이패드 프로,에어 출시[애플 신제품 총정리]
안녕하세요!! 일상생활에서 감각을 채우는 필마센스입니다. 😊😊 지난 7일 미국 캘리포니아주 쿠퍼티노에서 온라인으로 렛 루즈 이벤트를 열고 애플이 새로운 시리즈의 아이패드를 공개했어
fillmyspace.tistory.com
'IT 정보' 카테고리의 다른 글
| 애플 아이폰 SE4 내년 출시 예정 [애플 신제품 총정리] (146) | 2024.05.29 |
|---|---|
| 삼성전자 노트북 갤럭시4 엣지 공개 '코파일럿+PC' (59) | 2024.05.28 |
| 아이폰 iOS 17.5 업데이트 배포, 업데이트 내용은? (62) | 2024.05.18 |
| 애플 비전프로 내달 한국 출시 예정 "1차 출시 확정" (53) | 2024.05.17 |
| 애플 폴더블폰 출시 예고, 폴더블폰 시장 변동 예고 (146) | 2024.05.16 |